- [email protected]
- +86-15830833228
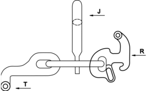
RTJ cluster hook refers to a type of hook used in towing and recovery operations, especially in the context of attaching multiple chains or straps to a single anchor point.The RTJ Cluster hook is a specific hook for car tie down securement. These hooks are for frame rails and unibodies. The R hook is for Ford, T hook for GM and Chysler, and the J hook is for foreign cars.


R Hook
| Size | Dimensions(mm) | WLL(LBS) | MBS(T) | Weight | ||||||
| Inch | MM | A | B | L | M | Carbon | Alloy | Carbon | Alloy | KG |
| 5/16” | 8 | 14.4 | 26.0 | 85.2 | 66.9 | 2900 | 4700 | 5.3 | 8.5 | 0.30 |
T Hook
| Size | Dimensions(mm) | WLL(LBS) | MBS(T) | Weight | |||||
| Inch | MM | A | B | L | Carbon | Alloy | Carbon | Alloy | KG |
| 5/16” | 8 | 29.0 | 14.5 | 101.0 | 4150 | 4700 | 7.5 | 8.5 | 0.26 |
Mini J Hook
| Size | Dimensions(mm) | WLL | MBS | Weight | ||
| Inch | MM | L | B | (LBS) | (LBS) | KG |
| 5/16”-3/8” | 7-8 | 14.5 | 29.0 | 5400 | 19000 | 0.32 |
Enlarged Link
| Dimensions(mm) | ||
| Inner Length | Inner Width | Wire Dia |
| 74.0 | 32.0 | 11.0 |
RTJ Cluster Hook has 3 hooks (RTJ) and large links attached together. Each towing hook has its own application. Link at top is with a diameter of 3/8″ or 11mm. And the extra enlarged Link provides a convenient connection point.
WhatsApp us